|
Вид
|
Тройник чугунный |
|
Тип
|
Раструбный |
|
DN
|
500х500 |
|
Материал
|
ВЧШГ |
|
Инженерная система
|
Водоснабжение, канализация |
|
Среда
|
Горячая и холодная вода |
|
Присоединение
|
Раструбное |
|
ГОСТ/ТУ
|
ISO 2531, ГОСТ 5525-124 |
Тройники из чугуна являются неотъемлемой частью современных систем трубопроводов, обеспечивая их надежность и долговечность. Эти изделия находят применение в промышленности, строительстве, коммунальном хозяйстве и других отраслях, где требуется соединение нескольких потоков.
Особенности и преимущества:
Чугунные тройники обладают рядом преимуществ, благодаря которым они востребованы на рынке:
- Высокая прочность и износостойкость. Чугун отличается устойчивостью к механическим повреждениям и сохраняет свои свойства даже при длительной эксплуатации.
- Коррозионная стойкость. Материал выдерживает воздействие влаги и агрессивных сред, что делает его идеальным для использования в системах водоснабжения и канализации.
- Широкая совместимость. Тройники из чугуна подходят для соединения с трубами из различных материалов, включая сталь, пластик и медь.
- Долговечность. Срок службы таких изделий достигает десятков лет, что существенно снижает расходы на ремонт и замену трубопроводов.
Сферы применения:
- в системах водоснабжения для распределения потоков воды;
- в отопительных системах для соединения труб с различной температурой теплоносителя;
- в газопроводах, где важна герметичность и прочность соединений;
- в канализационных системах для отвода сточных вод.
Покрытие:
На внутреннюю поверхность фасонных частей наносится цементно-песчаное покрытие.
На наружную поверхность фасонных частей наносится защитное покрытие цинком и битумным лаком.

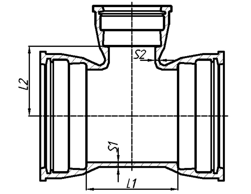
Размеры:
|
ТРОЙНИК РАСТРУБНЫЙ (ГОСТ) |
||||
|---|---|---|---|---|
|
Наименование |
S1 |
S2 |
L1 |
L2 |
|
Тройник Раструбный ВЧШГ DN 80х80 |
7,0 |
7,0 |
250 |
115 |
|
Тройник Раструбный ВЧШГ DN100x80 |
7,2 |
7,0 |
250 |
125 |
|
Тройник Раструбный ВЧШГ DN 100х100 |
7,2 |
7,2 |
300 |
150 |
|
Тройник Раструбный ВЧШГ DN 125х80 |
7,5 |
7,0 |
300 |
150 |
|
Тройник Раструбный ВЧШГ DN 125х100 |
7,5 |
7,2 |
400 |
300 |
|
Тройник Раструбный ВЧШГ DN 125х125 |
7,5 |
7,5 |
400 |
200 |
|
Тройник Раструбный ВЧШГ DN 150х80 |
7,8 |
7,0 |
300 |
150 |
|
Тройник Раструбный ВЧШГ DN 150х100 |
7,8 |
7,2 |
300 |
150 |
|
Тройник Раструбный ВЧШГ DN 150х150 |
7,8 |
7,8 |
400 |
200 |
|
Тройник Раструбный ВЧШГ DN 200х80 |
8,4 |
7,0 |
300 |
200 |
|
Тройник Раструбный ВЧШГ DN 200х100 |
8,4 |
7,2 |
400 |
200 |
|
Тройник Раструбный ВЧШГ DN 200х150 |
8,4 |
7,8 |
400 |
200 |
|
Тройник Раструбный ВЧШГ DN 200х200 |
8,4 |
8,4 |
500 |
250 |
|
Тройник Раструбный ВЧШГ DN 250х100 |
9,0 |
7,2 |
400 |
200 |
|
Тройник Раструбный ВЧШГ DN 250х150 |
9,0 |
7,8 |
400 |
250 |
|
Тройник Раструбный ВЧШГ DN 250х200 |
9,0 |
8,4 |
500 |
250 |
|
Тройник Раструбный ВЧШГ DN 250х250 |
9,0 |
9,0 |
500 |
250 |
|
Тройник Раструбный ВЧШГ DN 300х100 |
9,6 |
7,2 |
400 |
250 |
|
Тройник Раструбный ВЧШГ DN 300х150 |
9,6 |
7,8 |
400 |
250 |
|
Тройник Раструбный ВЧШГ DN 300х200 |
9,6 |
8,4 |
500 |
250 |
|
Тройник Раструбный ВЧШГ DN 300х250 |
9,6 |
9,0 |
500 |
250 |
|
Тройник Раструбный ВЧШГ DN 300х300 |
9,6 |
9,6 |
600 |
300 |
|
Тройник Раструбный ВЧШГ DN 350х100 |
11,9 |
8,4 |
400 |
250 |
|
Тройник Раструбный ВЧШГ DN 350х200 |
11,9 |
9,8 |
500 |
300 |
|
Тройник Раструбный ВЧШГ DN 350х250 |
11,9 |
10,5 |
500 |
300 |
|
Тройник Раструбный ВЧШГ DN 350х300 |
11,9 |
11,2 |
600 |
300 |
|
Тройник Раструбный ВЧШГ DN 350х350 |
11,9 |
11,9 |
600 |
300 |
|
Тройник Раструбный ВЧШГ DN 400х200 |
12,6 |
9,8 |
500 |
300 |
|
Тройник Раструбный ВЧШГ DN 400х250 |
12,6 |
10,5 |
500 |
300 |
|
Тройник Раструбный ВЧШГ DN 400х300 |
12,6 |
11,2 |
600 |
300 |
|
Тройник Раструбный ВЧШГ DN 400х400 |
12,6 |
12,6 |
600 |
350 |
|
Тройник Раструбный ВЧШГ DN 500х100 |
14,0 |
8,4 |
400 |
350 |
|
Тройник Раструбный ВЧШГ DN 500х200 |
14,0 |
9,8 |
500 |
350 |
|
Тройник Раструбный ВЧШГ DN 500х300 |
14,0 |
11,2 |
600 |
350 |
|
Тройник Раструбный ВЧШГ DN 500х400 |
14,0 |
12,6 |
800 |
400 |
|
Тройник Раструбный ВЧШГ DN 500х500 |
14,0 |
14,0 |
800 |
400 |
|
Тройник Раструбный ВЧШГ DN 600х200 |
15,4 |
9,8 |
500 |
400 |
|
Тройник Раструбный ВЧШГ DN 600х300 |
15,4 |
11,2 |
600 |
400 |
|
Тройник Раструбный ВЧШГ DN 600х400 |
15,4 |
12,6 |
800 |
450 |
|
Тройник Раструбный ВЧШГ DN 600х500 |
15,4 |
14,0 |
800 |
450 |
|
Тройник Раструбный ВЧШГ DN 600х600 |
15,4 |
15,4 |
900 |
450 |
|
Тройник Раструбный ВЧШГ DN 700х200 |
14,4 |
8,4 |
500 |
450 |
|
Тройник Раструбный ВЧШГ DN 700х400 |
14,4 |
10,8 |
800 |
500 |
|
Тройник Раструбный ВЧШГ DN 700х700 |
14,4 |
14,4 |
1100 |
550 |
|
Тройник Раструбный ВЧШГ DN 800х200 |
15,6 |
8,4 |
600 |
500 |
|
Тройник Раструбный ВЧШГ DN 800х400 |
15,6 |
10,8 |
800 |
550 |
|
Тройник Раструбный ВЧШГ DN 800х600 |
15,6 |
13,2 |
1000 |
550 |
|
Тройник Раструбный ВЧШГ DN 800х800 |
15,6 |
15,6 |
1200 |
550 |
|
Тройник Раструбный ВЧШГ DN 900х200 |
16,8 |
8,4 |
600 |
550 |
|
Тройник Раструбный ВЧШГ DN 900х400 |
16,8 |
10,8 |
800 |
600 |
|
Тройник Раструбный ВЧШГ DN 900х600 |
16,8 |
13,2 |
1000 |
600 |
|
Тройник Раструбный ВЧШГ DN 900х900 |
16,8 |
16,8 |
1300 |
650 |
|
Тройник Раструбный ВЧШГ DN 1000х400 |
18,0 |
10,8 |
800 |
650 |
|
Тройник Раструбный ВЧШГ DN 1000х600 |
18,0 |
13,2 |
1000 |
650 |
|
Тройник Раструбный ВЧШГ DN 1000х1000 |
18,0 |
18,0 |
1400 |
700 |
|
ТРОЙНИК РАСТРУБНЫЙ (ISO) |
||||
|---|---|---|---|---|
|
Наименование |
S1 |
S2 |
L1 |
L2 |
|
Тройник Раструбный ВЧШГ DN80х80 |
7,0 |
7,0 |
175 |
85 |
|
Тройник Раструбный ВЧШГ DN100х80 |
7,2 |
7,0 |
165 |
90 |
|
Тройник Раструбный ВЧШГ DN100х100 |
7,2 |
7,2 |
195 |
100 |
|
Тройник Раструбный ВЧШГ DN 125х80 |
7,5 |
7,0 |
175 |
105 |
|
Тройник Раструбный ВЧШГ DN 125х100 |
7,5 |
7,2 |
195 |
115 |
|
Тройник Раструбный ВЧШГ DN 125х125 |
7,5 |
7,5 |
225 |
115 |
|
Тройник Раструбный ВЧШГ DN 150х80 |
7,8 |
7,0 |
180 |
120 |
|
Тройник Раструбный ВЧШГ DN 150х100 |
7,8 |
7,2 |
200 |
125 |
|
Тройник Раструбный ВЧШГ DN 150х150 |
7,8 |
7,8 |
260 |
130 |
|
Тройник Раструбный ВЧШГ DN 200х80 |
8,4 |
7,0 |
180 |
145 |
|
Тройник Раструбный ВЧШГ DN 200х100 |
8,4 |
7,2 |
200 |
150 |
|
Тройник Раструбный ВЧШГ DN 200х150 |
8,4 |
7,8 |
260 |
155 |
|
Тройник Раструбный ВЧШГ DN 200х200 |
8,4 |
8,4 |
320 |
160 |
|
Тройник Раструбный ВЧШГ DN 250х100 |
9,0 |
7,2 |
205 |
190 |
|
Тройник Раструбный ВЧШГ DN 250х150 |
9,0 |
7,8 |
265 |
190 |
|
Тройник Раструбный ВЧШГ DN 250х200 |
9,0 |
8,4 |
320 |
190 |
|
Тройник Раструбный ВЧШГ DN 250х250 |
9,0 |
9,0 |
380 |
190 |
|
Тройник Раструбный ВЧШГ DN 300х100 |
9,6 |
7,2 |
210 |
220 |
|
Тройник Раструбный ВЧШГ DN 300х150 |
9,6 |
7,8 |
265 |
220 |
|
Тройник Раструбный ВЧШГ DN 300х200 |
9,6 |
8,4 |
325 |
220 |
|
Тройник Раструбный ВЧШГ DN 300х250 |
9,6 |
9,0 |
380 |
220 |
|
Тройник Раструбный ВЧШГ DN 300х300 |
9,6 |
9,6 |
440 |
220 |
|
Тройник Раструбный ВЧШГ DN 350х100 |
11,9 |
8,4 |
205 |
220 |
|
Тройник Раструбный ВЧШГ DN 350х200 |
11,9 |
9,8 |
325 |
240 |
|
Тройник Раструбный ВЧШГ DN 350х250 |
11,9 |
10,5 |
495 |
245 |
|
Тройник Раструбный ВЧШГ DN 350х300 |
11,9 |
11,2 |
495 |
250 |
|
Тройник Раструбный ВЧШГ DN 350х350 |
11,9 |
11,9 |
495 |
260 |
|
Тройник Раструбный ВЧШГ DN 400х200 |
12,6 |
9,8 |
325 |
260 |
|
Тройник Раструбный ВЧШГ DN 400х250 |
12,6 |
10,5 |
440 |
265 |
|
Тройник Раструбный ВЧШГ DN 400х300 |
12,6 |
11,2 |
440 |
270 |
|
Тройник Раструбный ВЧШГ DN 400х400 |
12,6 |
12,6 |
560 |
280 |
|
Тройник Раструбный ВЧШГ DN 500х100 |
14,0 |
8,4 |
215 |
295 |
|
Тройник Раструбный ВЧШГ DN 500х200 |
14,0 |
9,8 |
330 |
310 |
|
Тройник Раструбный ВЧШГ DN 500х300 |
14,0 |
11,2 |
450 |
315 |
|
Тройник Раструбный ВЧШГ DN 500х400 |
14,0 |
12,6 |
565 |
335 |
|
Тройник Раструбный ВЧШГ DN 500х500 |
14,0 |
14,0 |
680 |
350 |
|
Тройник Раструбный ВЧШГ DN 600х200 |
15,4 |
9,8 |
340 |
360 |
|
Тройник Раструбный ВЧШГ DN 600х300 |

